
国药集团586万收购安徽美来乳果糖,布局慢病用药!
11月4日,国药现代发布公告,其控股子公司国药集团致君(坪山)制药与安徽美来药业签署《药品上市许可转让合同》,安徽美来药业将其产品乳果糖口服溶液(15ml:10g)上市许可转让予国药集团致君(坪山)制药,转让费总计586万元。
截图来源:企业公告
乳果糖口服溶液是一种渗透性泻药,临床用于治疗便秘、肝昏迷,医院市场销售规模不小。据摩熵医药数据库显示,该品种在2024年全终端医院销售总额约18亿元,2025年上半年销售额超8亿元,如此庞大的市场规模,无疑是一块诱人的“蛋糕”,吸引着众多药企纷纷入局。
截图来源:摩熵医药全终端医院销售数据库
该领域竞争态势极为激烈,截至目前,乳果糖口服溶液已有53家药企获得生产批文,竞争之白热化可见一斑。
其中,福元药业、苏州二叶制药、安徽四环科宝制药等42家药企顺利通过一致性评价,这意味着这些企业在产品质量和疗效上达到了较高标准,进一步加剧了市场竞争。
而四川德峰药业成为首家过评的药企,无疑在市场中抢占了先机。
截图来源:摩熵医药过评药品汇总数据库
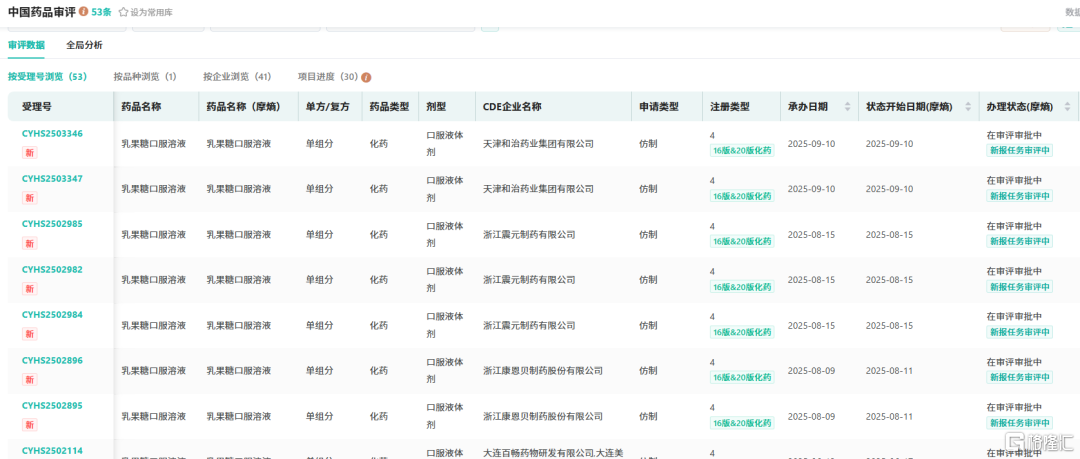
在仿制药布局方面,乳果糖口服溶液同样吸引了众多药企的目光。有41家药企提交了4类仿制药上市申请,目前均在审评审批中。由于新老批文并存的原因,这个产品还未被国采。不过,随着市场的发展和政策的推进,未来进入国采的可能性较大,这也使得各药企都在积极布局,争取在未来的市场竞争中占据有利地位。
截图来源:摩熵医药中国药品审评数据库
截至目前,国药现代其控股子公司国药集团容生制药有26个品种过评,其中,注射用甲泼尼龙琥珀酸钠被纳入第七批国家药品集中采购,帕拉米韦注射液被纳入第十批集采,地塞米松磷酸钠注射液和注射用阿昔洛韦这两款药品则被纳入第九批集采。
截图来源:摩熵医药过评药品汇总数据库
此次国药集团致君(坪山)制药受让乳果糖口服溶液(15ml:10g)上市许可,精准契合公司的战略发展规划。一方面,乳果糖口服溶液作为慢病治疗领域的常用药物,市场需求稳定且持续增长,受让该产品有助于丰富公司慢病治疗产品线,进一步完善公司的产品布局,满足不同患者的用药需求。
SH 国药现代 SH 福元医药
格隆汇声明:文中观点均来自原作者,不代表格隆汇观点及立场。特别提醒,投资决策需建立在独立思考之上,本文内容仅供参考,不作为实际操作建议,交易风险自担。


